Results of laboratory and field studies of a modular trailer cultivator KMP-14 with a rotary harrow
- Authors: Mashkov S.1, Ishkin P.A.1, Avdeev D.A.1
-
Affiliations:
- Samara State Agrarian University
- Issue: Vol 9, No 3 (2024)
- Pages: 51-59
- Section: TECHNOLOGY, MEANS OF MECHANIZATION AND POWER EQUIPMENT IN AGRICULTURE
- URL: https://bulletin.ssaa.ru/1997-3225/article/view/635939
- DOI: https://doi.org/10.55170/1997-3225-2024-9-2-51-59
- ID: 635939
Cite item
Full Text
Abstract
The purpose of the research is to experimentally determine the agrotechnical and energy parameters of an experimental rotary harrow as part of a modular trailed cultivator KMP–14 for fallow tillage and to confirm the compliance of the unit as a whole with the traction and power characteristics of tractors of traction class 5. The article presents a new rotary harrow for the modular trailed cultivator KPM-14 manufactured by Volgaagromash LLC to improve the quality of continuous pre-sowing and fallow tillage. The results of laboratory and field studies are presented, including agrotechnical and energy assessments of the work of the KMP-14 modular trailed cultivator with a rotary harrow on fallow tillage in an aggregate with a K-744R1 tractor. The results of laboratory and field studies confirmed the improvement in the quality of soil cultivation. Retrofitting the cultivator of the modular trailed KMP-14 with a rotary harrow increases the quality of crumbling of the treated soil layer by 88,6-93,5%, and reduces the number of large lumps of soil (over 50 mm) by more than 40%. The ridges of the soil surface also decrease by more than 20%. According to energy indicators, the modular trailer cultivator KMP-14, equipped with a rotary harrow, corresponds to the traction and power tractors characteristics of traction class 5 and ensures the performance of the technological process of fallow tillage at speed up to 11.8 km/h with an acceptable level of slipping.
Keywords
Full Text
Культиваторы, предназначенные для мелкой сплошной и предпосевной обработки почвы, должны соответствовать высоким агротехническим требованиям, поскольку их главная задача — механическое уничтожение сорняков, разрушение капилляров в верхнем слое почвы и формирование выровненного мульчированного слоя для уменьшения испарения почвенной влаги. Также, для обеспечения высокой производительности за счет большой рабочей ширины захвата, такие культиваторы должны обладать достаточно низким удельным сопротивлением на метр ширины захвата и соответствовать тягово-энергетическим показателям агрегатирующего трактора [1-11]. В связи с этим актуальными и значимыми являются исследования, направленные на разработку новых почвообрабатывающих рабочих органов орудий и оптимизацию технологических параметров машинотракторных агрегатов, позволяющие повысить эффективность использования энергетических ресурсов в растениеводстве и сохранить плодородие почв.
Цель исследований – экспериментальное определение агротехнических и энергетических показателей экспериментальной ротационной бороны в составе модульного прицепного культиватора КМП-14 на паровой обработке и подтверждение соответствия агрегата в целом тяговым и мощностным характеристикам тракторов тягового класса 5.
Задача исследований – определить агротехнические и энергетические показатели экспериментальной ротационной бороны в составе модульного прицепного культиватора КМП-14 и общих энергозатрат на паровой обработке в агрегате с трактором К-744Р1 (двигатель ЯМЗ-238НД5).
Объект исследований. Установлена возможность повышения качества и надежности технологического процесса поверхностной обработки почвы за счет применения на культиваторе КМП-14 производства ООО «Волгаагромаш» ротационной бороны обладающей возможностью регулирования интенсивности воздействия игольчатых дисков на почву и копирования микрорельефа поля, а также наличием индивидуальной подвижности игольчатых дисков относительно друг друга, что обеспечивает их самоочищающуюся способность [12].
Для реализации этой возможности разработана новая конструкция ротационной бороны [13]. Новизна конструкции подтверждена Патентом РФ № 2733660 на изобретение. Почвообрабатывающий рабочий орган ротационной бороны выполнен в виде игольчатых дисков, имеющих индивидуальные втулки с повышенной пылезащитой. Втулки установлены с возможностью индивидуального свободного вращения на гибком стальном канате, концы которого жестко зафиксированы на раме и балке натяжения. Балка представляет собой двуплечий рычаг, закрепленный шарнирно к торцу рамы, а вторым плечом связанный с рамой посредством талрепа или гидроцилиндра. Поводки сцепного устройства имеют шарнирное сочленение с рамой ротационной бороны и обеспечивают ее закрепление с углом атаки к направлению движения в диапазоне 8-15°.
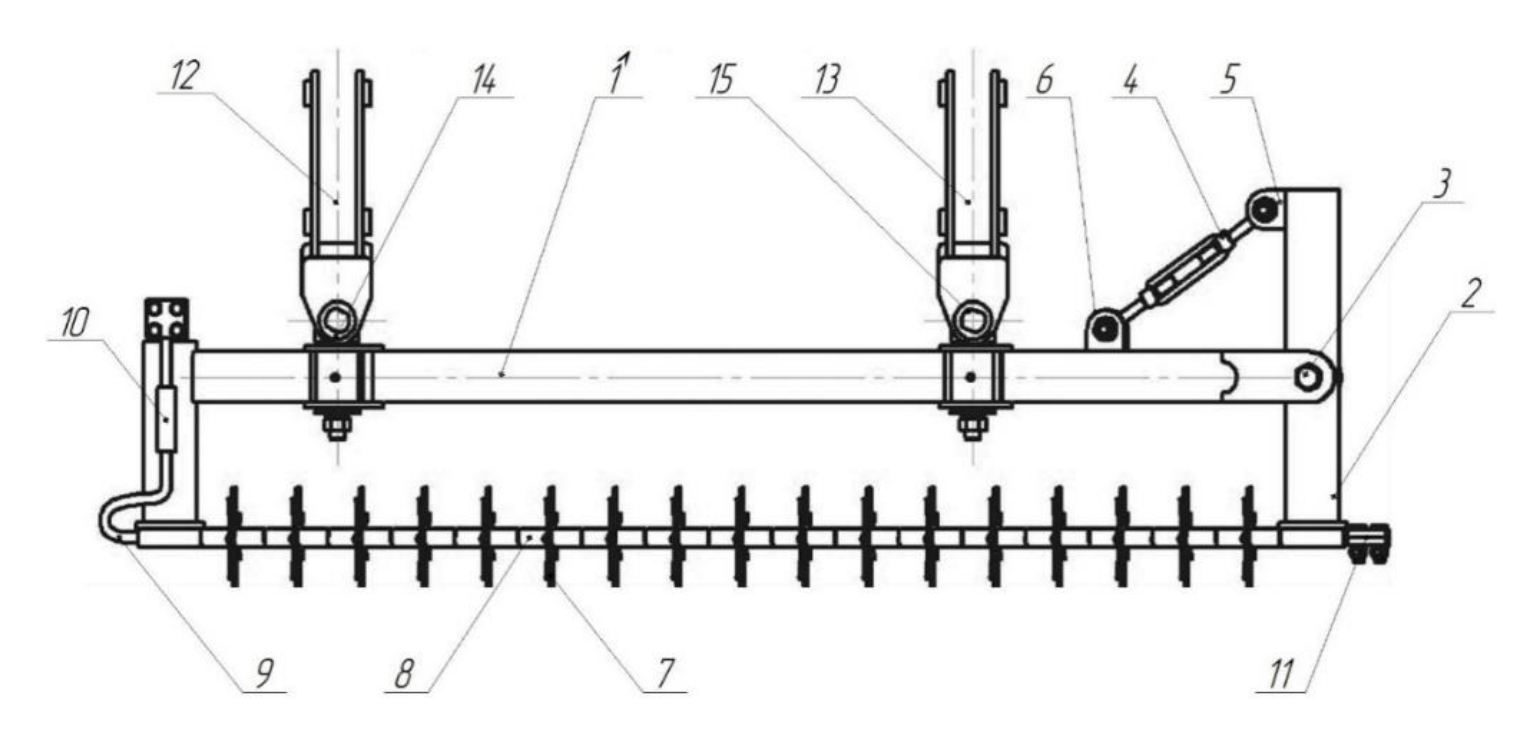
Конструкция ротационной бороны представлена на рисунках 1 и 2. Она содержит раму 1; балку натяжения 2, представляющую собой двуплечий рычаг, который закреплен к торцу рамы 1 на оси 3; талреп 4, связанный с плечом двуплечего рычага посредством дужки 5 и закрепленный на раме 1 посредством дужки 6; игольчатые диски 7, имеющие индивидуальные втулки 8 с повышенной пылезащитой; гибкий стальной канат 9; зажимы стального каната 10 и 11. Игольчатые диски 7 установлены на гибком стальном канате 9, с возможностью индивидуального свободного вращения, на одинаковом расстоянии друг от друга.
Рис. 1. Общий вид ротационной бороны
Рис. 2. Общий вид ротационной бороны (вид сверху)
Рама 1 ротационной бороны соединяется с основной рамой культиватора с помощью сцепного устройства в виде двух поводков 12 и 13, соединенных с рамой шарнирным сочленением 14 и 15. Шарнирные сочленения поводков 14, 15 и рамы 1 обеспечивает ротационной бороне необходимые степени свободы для копирования микрорельефа поля.
Повышение качества обработки почвы достигается тем, что все игольчатые диски батареи имеют одинаковый угол атаки и одинаковое усилие заглубления на всей ширине захвата бороны. Шарнирное сочленение поводков и рамы ротационной бороны, а также гибкость стального каната обеспечивают копирование микрорельефа поля игольчатыми дисками.
Повышение надежности технологического процесса обработки почвы достигается тем, что игольчатые диски выполнены на индивидуальных втулках с повышенной пылезащитой и обладают подвижностью по отношению друг к другу, что обеспечивает повышение их самоочищаемости, а гибкость стального каната обеспечивает преодоление внутрипочвенных препятствий без нарушения целостности конструкции устройства.
Методы экспериментальных исследований. Экспериментальное определение агротехнических и энергетических показателей разработанной ротационной бороны проводилось в составе культиватора модульного прицепного КМП-14 на паровой обработке почвы в агрегате с трактором К-744Р1, оснащенного двигателем ЯМЗ-238НД5, при различных скоростных параметрах работы.
Методика агротехнических и энергетических показателей агрегата включала в себя проведение серии опытов при выполнении паровой обработки почвы по задискованному с осени полю на различных передачах (скоростях) движения с оценкой следующих показателей работы агрегата: скорость поступательного движения агрегата, глубина обработки почвы, рабочая ширина захвата, крошение почвы, гребнистость поверхности почвы, полнота подрезания сорных растений, тяговое сопротивление орудия, расход топлива и буксование ведущих колес трактора [14-16].
Энергетические показатели культиватора КМП-14 с ротационной бороной определялись методом тензометрирования по ГОСТ Р 52777-2007 «Техника сельскохозяйственная. Методы энергетической оценки» с помощью измерительной системы ИП-264 ФГБУ «Поволжская МИС». Условия проведения исследований были типичными для зоны Среднего Поволжья (табл. 1).
Таблица 1. Состояние почвы при проведении энергетической оценки
Почвенные слои, см | Влажность почвы, % | Твёрдость почвы, МПа |
0-5 5-10 10-15 | 10,7 11,8 15,2 | 0,7 0,7 0,9 |
Результаты исследований. По результатам агротехнической оценки культиватора модульного прицепного КМП-14 на паровой обработке по задискованному с осени полю при различных скоростных режимах работы и на различную глубину обработки почвы позволили сделать следующее заключение.
Рис. 3. Изменение качества крошения почвы при работе культиватора КМП-14 с ротационной бороной
При рабочих скоростях движения агрегата 11,2-11,8, 10,4-10,9 и 9,7-9,9 км/ч на передачах 3-3, 2-3 и 3-2 соответственно, качество крошения почвы на комки размером до 25 мм культиватором КМП-14 при работе без ротационной бороны (рис. 3) варьировалось в зависимости от глубины обработки 6-10 см соответственно в следующих диапазонах: 90,3%-91,2%; 87,6%-90,8%; 86,3%-89,8%. Крупные фракции почвы (размер комков свыше 50 мм) не превышали 3,4%. Гребнистость поверхности почвы вдоль прохода на всех рассматриваемых скоростных режимах работы находилась в интервале от 1,9 до 2,5 см (рис. 4). Подрезание сорной растительности было полным.
Рис. 4. Изменение гребнистости поверхности почвы при работе культиватора КМП-14 без ротационной бороны и с ротационной бороной
При работе культиватора модульного прицепного КМП-14 с ротационной бороной (рис. 3) качество крошения почвы на комки размером до 25 мм варьировалось в зависимости от глубины обработки 6-10 см соответственно в следующих диапазонах 92,3%-93,5%; 91,2%-92,6%; 88,6%-91,5%. Количество крупных фракций (размер комков свыше 50 мм) не превышало 2%, что ниже более чем на 40% по сравнению с работой без ротационной бороны. Гребнистость поверхности почвы стала меньше и изменила направление. Гребнистость поверхности почвы поперек прохода на всех рассматриваемых скоростных режимах работы снизилась более чем на 20% и находилась в интервале от 1,5 до 1,8 см (рис. 4). Подрезание сорной растительности было полным.
Дооснащение культиватора модульного прицепного КМП-14 ротационной бороной повышает качество крошения обрабатываемого слоя почвы до 88,6-93,5%, и снижает количество крупных комков почвы (свыше 50 мм) более чем на 40% по сравнению с работой без ротационной бороны. Также более чем на 20% уменьшается гребнистость поверхности почвы по сравнению с работой без ротационной бороны.
В целом, по полученным показателям агротехнической оценки культиватор модульный прицепной КМП-14, укомплектованный ротационной бороной обеспечивает высокое качество выполнения технологического процесса поверхностной обработки почвы на скорости движения до 11,8 км/ч.
Результаты проведенной энергетической оценки культиватора модульного прицепного КМП-14 на паровой обработке по задискованному с осени полю при различных скоростных режимах работы и на различную глубину обработки почвы позволили сделать следующее заключение.
При рабочих скоростях движения трактора 11,2-11,8, 10,4-10,9 и 9,7-9,9 км/ч на передачах 3-3, 2-3 и 3-2 соответственно, тяговое сопротивление культиватора модульного прицепного КМП-14 при работе без ротационной бороны варьировалось в зависимости от глубины обработки 6-10 см соответственно в следующих диапазонах 28,15-42,91; 27,01-40,75; 24,55-27,9 кН (рис. 5).
Рис. 5. Изменение тягового сопротивления культиватора КМП-14 без ротационной бороны и с ротационной бороной
Удельное тяговое сопротивление на всех рассматриваемых скоростных режимах работы находилось в интервале от 1,75 до 3,07 кН/м. Буксование не превышало 6,67% (рис. 6).
При работе культиватора модульного прицепного КМП-14 с ротационной бороной тяговое сопротивление на этих же скоростях составляло 33,32-47,23, 31,94-45,02 и 29,19-41,95 кН соответственно (рис. 5). Удельное тяговое сопротивление на всех рассматриваемых скоростных режимах работы находилось в интервале от 2,09 до 3,37 кН/м. Буксование находилось в интервале от 2 до 9,17% (рис. 6).
Рис. 6. Изменение буксования трактора при работе с культиватором КМП-14 на различных режимах
Таким образом, дооснащение культиватора модульного прицепного КМП-14 ротационной бороной повышает его тяговое сопротивление на 4,05-5,17 кН.
По итогам проведенных лабораторно-полевых исследований, включающих агротехническую и энергетическую оценки работы культиватора модульного прицепного КМП-14 с ротационной бороной можно сделать следующие выводы: качество крошения почвы на комки размером до 25 мм варьировалось в зависимости от глубины обработки 6-10 см в диапазоне соответственно 88,6%-93,5%; количество крупных фракций (размер комков свыше 50 мм) не превышало 2%, что ниже более чем на 40% по сравнению с работой без ротационной бороны; гребнистость поверхности почвы стала меньше и изменило направление с продольного на поперечное, гребнистость поверхности почвы снизилась более чем на 20% и находилась в интервале от 1,5 до 1,8 см на всех рассматриваемых скоростных режимах работы; подрезание сорной растительности было полным; удельное тяговое сопротивление на всех рассматриваемых скоростных режимах работы находилось в интервале от 2,09 до 3,37 кН/м; тяговое сопротивление культиватора модульного прицепного КМП-14 с ротационной бороной находилось в диапазоне значений 29,19-47,23 кН; буксование трактора находилось в интервале от 2 до 9,17%.
В целом, по полученным показателям культиватор модульный прицепной КМП-14, укомплектованный ротационной бороной, демонстрирует высокие агротехнические показатели работы, соответствует тяговым и мощностным показателям тракторов тягового класса 5 и обеспечивает выполнение технологического процесса паровой обработки на скорости движения до 11,8 км/ч с допустимым уровнем буксования.
Заключение. Результаты лабораторно-полевых исследований культиватора модульного прицепного КМП-14 с разработанной ротационной бороной подтвердили повышение качества обработки почвы за счет хорошего копирования рельефа поля и индивидуальной подвижности игольчатых дисков относительно друг друга. Дооснащение культиватора модульного прицепного КМП-14 ротационной бороной повышает качество крошения обрабатываемого слоя почвы до 88,6-93,5%, и снижает количество крупных комков почвы (свыше 50 мм) более чем на 40% по сравнению с работой без ротационной бороны. Также уменьшается гребнистость поверхности почвы более чем на 20% по сравнению с работой без ротационной бороны. При этом дооснащение культиватора модульного прицепного КМП-14 ротационной бороной повышает тяговое сопротивление орудия на 4,05-5,17 кН. По энергетическим показателям культиватор модульный прицепной КМП-14, укомплектованный ротационной бороной, соответствует тяговым и мощностным показателям тракторов тягового класса 5 и обеспечивает выполнение технологического процесса паровой обработки на скорости движения до 11,8 км/ч с допустимым уровнем буксования.
Вклад авторов: все авторы сделали эквивалентный вклад в подготовку публикации. Авторы заявляют об отсутствии конфликта интересов.
Contribution of the authors: the authors contributed equally to this article. The authors declare no conflicts of interests.
About the authors
Sergej V. Mashkov
Samara State Agrarian University
Email: mash_ser@mail.ru
ORCID iD: 0000-0002-9941-3803
Candidate of Economic Sciences, Associate Professor
Russian Federation, Ust-Kinelsky, Samara RegionPavel A. Ishkin
Samara State Agrarian University
Author for correspondence.
Email: ishkin_pa@mail.ru
ORCID iD: 0000-0002-7490-9300
Candidate of Technical Sciences
Russian Federation, Ust-Kinelsky, Samara RegionDmitrij A. Avdeev
Samara State Agrarian University
Email: 9906974@mail.ru
ORCID iD: 0009-0007-4215-8729
engineer
Russian Federation, Ust-Kinelsky, Samara RegionReferences
- Abdurakhmonov, U. N. (2021). Tools for surface tillage. Science, technology and education, (7 (82)), 15-19. (in Russ.).
- Fedorov, S.E., Zhalnin, A. A., Zhalnin, N. A., & Polunkin, A. A. (2020). Improving the quality of surface tillage. Bulletin of the Ryazan State Agrotechnological University named after PA Kostychev, (4 (48)), 121-127. (in Russ.).
- Kapustin, S. I. (2019). Justification of the level of field crop technologies. Agricultural Magazine, (2 (12)), 12-19. (in Russ.).
- Chatkin, M. N., Fedorov, S.E., Zhalnin, A. A., & Bychkov, M. V. (2022). Evaluation of the effectiveness of a combined tillage cultivator. Engineering Technologies and Systems, 32(4), 539-551. (in Russ.).
- Savelyev, Yu. A., Petrov, A. M., Ishkin, P. A., & Petrov, M. A. (2014). A tool for early spring tillage. Rural Machine Operator, (10), 6-7. (in Russ.).
- Savelyev, Yu. A., Dobrynin, Yu. M., & Ishkin, P. A. (2017). Theoretical study of the soil water balance and the process of soil moisture evaporation. Agricultural Machines and Technologies, (1), 23-28. (in Russ.).
- Ishkina, O. A., & Mashkov, S. V. (2022). Analysis of ways to reduce soil compaction. Samara AgroVector, 2(1), 44-49. (in Russ.).
- Savelyev, Yu. A., Kirov, Yu. A., Ishkin, P. A., & Petrov, M. A. (2021). Optimization of parameters of disk-needle working bodies of traction-drive tillage tools. Izvestiia Samarskoi gosudarstvennoi selskokhoziaistvennoi akademii (Bulletin Samara state agricultural academy), (3), 30-38. (in Russ.).
- Mashkov, S. V., Petrov, M. A., Shakhov, V. A., & Ishkin, P. A. (2021). Improving the energy efficiency of tillage with traction-driven tillage tools. Izvestiia Samarskoi gosudarstvennoi selskokhoziaistvennoi akademii (Bulletin Samara state agricultural academy), 6 (4), 37-47. (in Russ.).
- Lisunov, O. V. Boginya, M. V., Vasiliev, A. A. & Oleinikova, E. N. (2023). Investigation of the influence of parameters of working bodies and modes of operation of a modular cultivator on the quality of surface tillage. Bulletin of the Ulyanovsk State Agricultural Academy. 1(61). 190-196. (in Russ.).
- Kukhmazov, K. Z., Yashin, A.V., & Khabibullin, R. R. (2023). Laboratory studies of the cultivator's loosening roller for pre-sowing tillage. Niva of the Volga region, (2 (66)), 3006. (in Russ.).
- Mashkov, S. V., & Avdeev, D. A. (2020). Development of a rotary harrow. Innovative achievements of science and technology of the agroindustrial complex (pp. 408-411). (in Russ.).
- Mashkov S. V., Ishkin, P. A. & Avdeev, D. A. (2023). Rotary harrow to a cultivator for continuous tillage. Rural mechanizer.6. 12-13. (in Russ.).
- Komarov, S. A. (2021). Modular trailer cultivator «Antares» KMP-14. Tested on the Volga Region MIS. Rural mechanizer.4. 2. (in Russ.).
- Mashkov, S. V., Ishkin, P. A. & Avdeev, D. A. (2023). Test results of a modular trailer cultivator KMP-14 with a rotary harrow. Samara AgroVector. 3, 2. 28-36. (in Russ.). doi: 10.55170/29493536_2023_3_2_28.
- Mashkov, S. V., Ishkin, P. A. & Avdeev, D. A. (2024). Results of an agrotechnical assessment of a modular trailer cultivator KMP-14 with a rotary harrow. Innovative achievements of science and technology in agriculture: collection of scientific. Kinel: PlC Samara State Agrarian University. 224-230. (in Russ.)
Supplementary files









