Justification of the thermovacuum system of the unit for processing plant raw materials
- Authors: Kurochkin A.A.1
-
Affiliations:
- Penza State Technological University
- Issue: Vol 10, No 4 (2025)
- Pages: 69-74
- Section: TECHNOLOGY, MEANS OF MECHANIZATION AND POWER EQUIPMENT IN AGRICULTURE
- URL: https://bulletin.ssaa.ru/1997-3225/article/view/695619
- DOI: https://doi.org/10.55170/1997-3225-2025-10-4-69-74
- ID: 695619
Cite item
Full Text
Abstract
The purpose of the research is to provide a theoretical basis for improving the efficiency of the thermovacuum system of the plant raw material extrusion unit. An innovative approach to upgrading the equipment used for thermoplastic processing of plant raw materials involves applying reduced pressure to the raw material as it exits the machine's die. This technology significantly alters the formation of the capillary-porous structure of the extrudates, as well as the intensity and depth of their dehydration, thereby addressing the inherent limitations of classical single-screw extrusion. The extrusion technology, known as thermovacuum extrusion, reduces energy consumption by lowering the temperature of the extruder process and partially regenerating the heat energy during the process. Based on modern ideas about the disadvantages and possible ways to improve single-screw extruders, a unit for energy-efficient thermovacuum processing of plant raw materials has been proposed. Its design and technological scheme include technical solutions that allow solving problems related to the processing of plant raw materials with high moisture content by pre-reducing the moisture content of the processed raw materials, as well as regulating the intensity of dehydration of the finished product. The article also discusses the conditions for regenerating the heat used in the machine's working process and improving the energy efficiency of the unit as a whole. The conducted research made it possible to obtain analytical expressions, with the help of which it is possible to determine the air flow rate, admitted into the chambers of the preliminary and final processing of raw materials of the unit and to determine the parameters of the system, providing the thermovacuum effect of the extrusion process. The results obtained can be useful and taken into account in the process of subsequent theoretical studies of thermovacuum extruders and will allow, on their basis, to increase the efficiency of machines, carrying out the extrusion of plant raw materials for fodder and food purposes.
Full Text
Современный уровень развития термопластической экструзии сельскохозяйственного сырья позволяет прогнозировать поведение практически всех значимых для питания животных макро- и микронутриентов и на основе этой информации назначать рациональные рабочие параметры для тех или иных типов экструдеров. С этой точки зрения рекомендации по обоснованию параметров экструзионной обработки растительного сырья сводятся к следующему принципу: критические потери полезных свойств большинства ингредиентов сырья наблюдаются при его «сухой» экструзии и нагреве до температуры свыше 100°C. Такие параметры характерны для рабочего процесса относительно недорогих по стоимости и эксплуатации одношнековых автогенных экструдеров [1, 6, 9, 10].
При этом технология получения более качественных по своему составу кормов предполагает мягкий режим «влажной» экструзии с применением дорогостоящих двухшнековых экструдеров и последующей дополнительной обработкой готового продукта с помощью сушилок. Затраты на производство таких кормов делают экономически не выгодным применение экструдатов в кормлении животных и стимулируют ученых и конструкторов работать над совершенствованием технологии и средств механизации в этой части индустрии кормоприготовления.
Одним из перспективных направлений модернизации экструдеров, используемых для приготовления кормов, является применение принципа термовакуумного воздействия на экструдируемое сырье при выходе его из фильеры машины. По этому способу экструзия может осуществляться при высоком содержании влаги, умеренных температурах и относительно мягких условиях механических напряжений (сдвига) обрабатываемого сырья. Такие рабочие параметры экструзионного процесса весьма выгодны с позиции сохранения термо- и механически чувствительных компонентов сырья. Совершенствование экструдеров в этом направление связано, как минимум, с решением следующих проблем, сопряженных с практикой применения одношнековых машин для получения высококачественных кормов:
- Возможность снижения рабочей температуры процесса до значений, обеспечивающих относительно мягкий режим обработки термолабильных ингредиентов сырья.
- Создание условий для регенерации теплоты, затраченной на реализацию рабочего процесса машины и повышение энергоэффективности экструдера в целом.
- Эффективное и достаточно простое регулирование обезвоживания экструдата, позволяющее отказаться от энергетически затратного процесса досушивания готового продукта.
Цель исследования: теоретическое обоснование повышения эффективности термовакуумной системы агрегата для экструзии растительного сырья.
Задачи исследования: получение аналитических зависимостей, позволяющих оценить работу термовакуумной системы агрегата для экструзии растительного сырья.
Материалы и методы исследований основаны на термодинамических характеристиках водяного пара, а также уравнении баланса массы обрабатываемого сырья, находящегося в тракте агрегата для термовакуумной экструзии растительного сырья.
Результаты исследований.
Результаты ранее выполненных теоретических и экспериментальных исследований позволили обосновать и предложить новое техническое решение агрегата для термовакуумной обработки растительного сырья, обеспечивающего повышение энергоэффективности и упрощение его технологических регулировок – влажности обрабатываемого сырья и готового продукта [2, 4, 5, 7, 8].
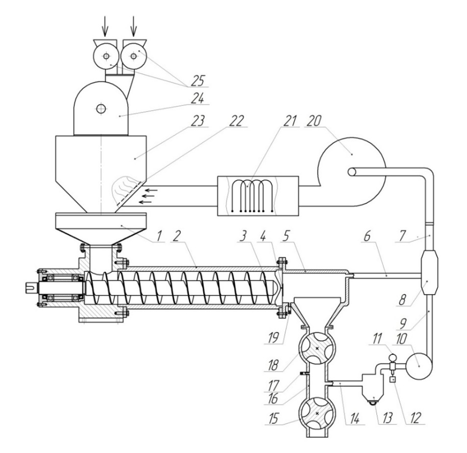
Конструктивно-технологическая схема предлагаемого агрегата [3] включает в свой состав одношнековый экструдер, газовый эжектор, вентилятор, воздушные ТЭНы, смеситель, измельчитель и дозаторы (рис. 1).
Рис. 1. Конструктивно-технологическая схема агрегата для термовакуумной обработки растительного сырья:
1 – загрузочная камера; 2 – корпус экструдера; 3 – шнек; 4 – фильера матрицы; 5 – камера предварительного термовакуумного воздействия; 6, 9, 14 – трубопроводы; 7 – фильера; 8 – газовый эжектор; 10 – вакуумный насос; 11 – вакуум-метр; 12 – вакуум-регулятор; 13 – вакуум-баллон; 15, 18 – шлюзовые затворы; 16 – камера заключительного термовакуумного воздействия; 17, 19 – воздушные краны; 20 – вентилятор; 21 – ТЭНы; 22 – перфорированная стенка; 23 – бункерный смеситель; 24 – измельчитель; 25 – дозаторы
Экструдер состоит из загрузочной камеры 1, корпуса 2, шнека 3, фильеры матрицы 4, режущего устройства (на чертеже позицией не обозначено), камеры предварительного термовакуумного воздействия 5, камеры заключительного термовакуумного воздействия 16, двух шлюзовых затворов 15 и 18, вакуумного насоса 10, вакуум-метра 11, вакуум-регулятора 12 и вакуум-баллона 13.
Камера предварительного термовакуумного воздействия 5 расположена соосно корпусу 2 экструдера и соединена трубопроводом 6 с патрубком пассивного потока газового эжектора 8. Для впуска воздуха в камеру предусмотрен воздушный кран 19.
Камера заключительного термовакуумного воздействия 16 расположена последовательно камере 5 и ограничена с обеих сторон шлюзовыми затворами 18 и 15. С помощью трубопровода 14 камера соединена с вакуум-баллоном 13, а впуск воздуха в нее осуществляется посредством крана 17.
Активная (эжектирующая) линия газового эжектора соединяется трубопроводом 9 с выходным патрубком вакуумного насоса 10, посредством которого откачивается водяной пар из камеры заключительного термовакуумного воздействия. Более интенсивному удалению пара способствует впуск в камеру воздуха с помощью крана 17.
Камеры предварительного и заключительного термовакуумного воздействия, а также трубопроводы, соединяющие составные части агрегата с газовым эжектором, вентилятором, смесителем, вакуум-баллоном и вакуумным насосом, с внешней стороны покрыты теплоизоляционным материалом.
В верхней части экструдера смонтированы вентилятор 20, воздушные ТЭНы 21 и бункерный смеситель 23 с перфорированным дном 22. С газовым эжектором и между собой они соединены трубопроводами. Над смесителем расположен измельчитель 24, оснащенный двумя дозаторами сырья 25.
Рабочий процесс агрегата можно представить в виде схемы функционирования его систем (рис. 2), которая позволит сформулировать требования и методологию необходимых расчетов в процессе обоснования рабочего процесса его термовакуумной системы.
Рис. 2. Схема функционирования систем агрегата:
АЭК – экструдер; АК1 – камера предварительного термовакуумного воздействия; АК2 – камера заключительного термовакуумного воздействия; АЭЖ – газовый эжектор; АВН – вакуумный насос; АВ – вентилятор; f1, f2, f3, f4 – обобщённые показатели, характеризующие сырье, поступающее на переработку и готовый продукт на выходе из машины; X1, Х2, Х3, Х4, Х5, Х6 – обобщенные значения внутренних факторов соответствующих систем; y1, y2, y3, y4, y5, y6, y7 – обобщённые значения результирующих факторов систем агрегата
Анализ схемы показывает, что основными оценочными критериями работы агрегата являются обобщённые значения результирующих факторов каждой из его систем – y1, y2, y3, y4, y5, y6, y7
Основными внешними воздействиями (входными факторами), оказывающими влияние на работу агрегата, являются обобщенные статистические показатели, характеризующие свойства сырья и готового продукта (f1, f2, f3, f4).
На значения оценочных критериев оказывают влияние факторы, обусловленные внутренней структурой и параметрами агрегата – X1, Х2, Х3.
Конечной целью системного анализа обычно является определение оптимальных, либо рациональных значений факторов X1, Х2, Х3, Х4, Х5, Х6 с целью доведения показателя f4 до оптимального (рационального) значения.
В системе «Экструдер» (АЭК) обрабатываемое сырье с помощью дозаторов 25 (рис. 1) подается в измельчитель 24, после чего поступает в смеситель 23.
В процессе перемешивания сырье подогревается путем подачи через перфорированное дно 22 горячего пара с той или иной влажностью, а затем поступает в загрузочную камеру 1 экструдера. Захваченное шнеком 3 оно последовательно проходит зоны прессования и дозирования машины, нагреваясь до температуры 120-130°С, а затем выводится через фильеру матрицы 4 в камеру предварительного термовакуумного воздействия 5. При выходе из фильеры матрицы экструдат с помощью режущего устройства разрезается на частицы с заданной длиной.
В системе «Камера предварительного термовакуумного воздействия» (АК1) обрабатываемое сырье подвергается декомпрессионному взрыву, который представляет собой мгновенный переход воды из жидкого состояния в парообразное. Испарение жидкости с поверхности экструдата понижает его температуру примерно на 20°С. С целью интенсификации отвода влажного пара от поверхности экструдата в камеру предварительного термовакуумного воздействия с помощью воздушного крана 19 подается некоторый объем воздуха. В зависимости от интенсивности поступающего в камеру горячего пара и воздуха, а также удаляемой из камеры воздушной смеси, в камере предварительного термовакуумного воздействия 5 будет атмосферное давление или небольшое разрежение (вакуум).
В системе «Газовый эжектор» (АЭЖ)образующийся горячий пар по трубопроводу 7 подается к вентилятору.
В системе «Камера заключительного термовакуумного воздействия» (АК2) за счет вакуумного насоса 10 поддерживается более низкое рабочее давление (вакуум), чем в камере предварительного термовакуумного воздействия. Величины этого давления (вакуума) достаточно для того, чтобы экструдат с температурой примерно 100-110°С снова подвергся декомпрессионному взрыву, и часть оставшейся жидкости в продукте вскипела и выделилась из него в виде пара. Образующейся пар удаляется за пределы камеры 16 в вакуум-баллон 13.
Система «Вакуумный насос» (АВН) служит для создания в камере заключительного термовакуумного воздействия пониженного давления (давления ниже атмосферного). При этом величина вакуума в этой камере должна быть выше, чем в камере предварительного термовакуумного воздействия на 50-55 кПа. Объем откачиваемого из камеры водяного пара, а вместе с ним и скорость активного потока в эжекторе, регулируется посредством впуска некоторого объема воздуха с помощью воздушного крана 17.
Система «Вентилятор» (АВ) функционирует для повышения энергоэффективности агрегата путем регенерации части теплоты горячего пара, выделяющегося из экструдата в процессе его интенсивного обезвоживания, и использования этой теплоты для предварительного нагрева обрабатываемого сырья.
С этой целью смесь горячего пара, поступающего из камер предварительной и заключительной термовакуумной обработки в эжектор, с помощью вентилятора 20 подается через перфорированное дно 23 бункерного смесителя 22 и нагревает сырье. При обработке сырья с повышенной влажностью (более 30%), включаются один или два воздушных ТЭНа 21, которые в схему функционирования агрегата как отдельная система не включены.
Таким образом, снижение энергозатрат на выполнение рабочего процесса агрегата (повышение его энергоэффективности) обеспечивается за счет замещения части энергии электрического привода машины энергией (теплотой) горячего пара, выделяющегося из экструдата в процессе его интенсивного обезвоживания в камерах предварительной и заключительной термовакуумной обработки. При этом регулирование влажности обрабатываемого сырья осуществляется включением или отключением ТЭНов, а влажность готового продукта обеспечивается с помощью вакуум-регулятора системы «Вакуумный насос».
Принцип работы термовакуумной системы агрегата основан на постоянном удалении водяных паров, выделяющихся из экструдата при соответствующих давлении и температуре. Объем этих паров зависит от содержания влаги в сырье и готовом экструдате, а также давления воздуха (водяных паров) в камерах термовакуумной обработки. В связи с этим для обоснования основных характеристик параметров термовакуумной системы агрегата необходимо знать законы изменения в ней давления в зависимости от основных параметров рабочего процесса агрегата и его камер термовакуумной обработки (объемный расход сырья в экструдере, давление в вакуумной системе, объем камер и др.).
Составим уравнение баланса массы экструдата, находящегося в тракте экструдера (до выхода из фильеры) и массы экструдата после выхода из фильеры (попадания его в камеру предварительной термовакуумной обработки)
(1)
или
, (2)
где и – объем экструдата соответственно до выхода и после выхода из фильеры агрегата в первую камеру, м3;
– объем водяного пара, образовавшегося в результате декомпрессионного взрыва экструдата в камере предварительной термовакуумной обработки, м3;
и – плотность экструдата до выхода и после выхода из фильеры агрегата, кг/м3;
– плотность водяного пара, кг/м3.
Тогда объем водяного пара, образовавшегося в результате декомпрессионного взрыва, будет равен
. (3)
Объем экструдата после выхода обрабатываемого сырья из фильеры и попадания его в камеру предварительной термовакуумной обработки агрегата можно записать в виде
, (4)
где – приращение объема экструдата после выхода его из фильеры агрегата, м3.
Тогда уравнение (5) примет вид
. (5)
Для камеры заключительной термовакуумной обработки можно записать аналогичное выражение с учетом параметров находящегося там экструдата
. (6)
Объем воздуха, который необходимо удалять из камеры предварительной термовакуумной обработки агрегата можно определить из следующего уравнения
, (7)
где – объем воздуха, впускаемого посредством воздушного крана камеры предварительной термовакуумной обработки, м3.
Объем воздуха, который необходимо удалять из камеры заключительной термовакуумной обработки агрегата с помощью вакуумного насоса равен
. (8)
где – объем воздуха, впускаемого посредством воздушного крана камеры заключительной термовакуумной обработки, м3;
– объем воздуха, поступающего в вакуумную систему через клапан вакуум-регулятора в процессе его работы, м3.
Таким образом, уравнения (7) и (8) позволяют определить общий объем водяных паров и воздуха, который необходимо удалить из камер предварительной и заключительной термовакуумной обработки агрегата в единицу времени при заданном объеме перерабатываемого сырья. При этом на основе полученных результатов достаточно просто установить связь производительности (подачи) и рабочего давления вакуумного насоса и вентилятора агрегата по их техническим характеристикам.
Заключение. Полученные теоретические зависимости позволяют получить материальный баланс воздуха и оценить влияние его отдельных составляющих на основные конструктивно-технологические параметры агрегата для термовакуумной обработки растительного сырья, а также подобрать для его комплектации вакуумный насос и вентилятор.
About the authors
Anatoly A. Kurochkin
Penza State Technological University
Author for correspondence.
Email: anatolii_kuro@mail.ru
ORCID iD: 0000-0002-3824-4364
Doctor of Technical Sciences, Professor
Russian Federation, PenzaReferences
- Bakhchevnikov, O. N. & Braginets, S. V. (2020). Extrusion of vegetable raw materials for food products (review). Technique and technology of food production. 50. 4. 690-706. (In Russian). doi: 10.21603/2074-9414-2020-4-690-706 EDN: CDJMBD
- Kutovoy, V. A. (2013). A systematic approach to solving thermovacuum drying processes of heterogeneous materials. Eastern European Journal of Advanced Technologies. 6. 8 (66). 40-44. (In Russian). EDN: RUJKFN
- Pat. 2783914 Russian Federation, IPC A23R10/25. Unit for thermal vacuum extrusion of vegetable raw materials / Kurochkin A.A., Frolov D.I., Garkina P.K. [et al.]. – No. 2021110152; application 04/13/2021 ; publ. 11/22/2022, Byul. No. 33. 9 p. (In Russian).
- Trushlyakov, V. I., Novikov, A. A., Lesnyak, I. Yu., et al. (2019). Investigation of the process of liquid evaporation with a free surface in a closed container under reduced pressure and acoustic influence. Thermal Physics and Aeromechanics. 26. 2. 275-286. (In Russian). EDN: XNLHII
- Frolov, D. I., Kurochkin, A. A., Garkina, P. K., et al. (2019). Increase in the efficiency of the extrudate dewatering in the vacuum chamber of the modernized extruder. Niva Povolzhya. 2. 134-143. (In Russian). EDN: BIRIFZ
- Sharikov, A. Yu., Stepanov, V. I. & Ivanov, V. V. (2019). Thermoplastic extrusion in food biotechnology processes. Izvestiya vuzov. Applied chemistry and biotechnology. 9. 3 (30). 447-460. (In Russian). doi: 10.21285/2227-2925-2019-9-3-447-460 EDN: EMEJZG
- Patent US 7001636 B1 Method for manufacturing feed pellets and a plant for use in the implementation of the method / Odd Geir Oddsen, Harald Skjorshammer, Fred Hirth Thorsen – No. 09/937172; Pub. 21.02.2006.
- Ramchiary, M., Das, A. B. (2020). Vacuum-assisted extrusion of red rice (bao-dhan) flour: Physical and phytochemical comparison with conventional extrusion. Journal of Food Processing and Preservation. Т. 44. №. 8. С. e14570. doi: 10.1111/jfpp.14570 EDN: OTVPOI
- Leonard W. et al. (2020). Application of extrusion technology in plant food processing byproducts: An overview. Comprehensive Reviews in Food Science and Food Safety.19. №. 1. С. 218-246. doi: 10.1111/1541-4337.12514
- Vishwakarma S. et al. (2022). Investigation of natural food fortificants for improving various properties of fortified foods: A review. Food Research International. Т. 156. С. 111186. doi: 10.1016/j.foodres.2022.111186 EDN: NQJWOM
Supplementary files





