Microprocessor control of electric dispensers of the mixer of bio-oil fuel components
- Authors: Ukhanov1 A.P.1, Ukhanov D.A.2
-
Affiliations:
- Penza State Agrarian University
- 25th State Research Institute of Chemmotology of the Defense Ministry of the Russian Federation
- Issue: Vol 8, No 2 (2023)
- Pages: 31-37
- Section: TECHNOLOGY, MEANS OF MECHANIZATION AND POWER EQUIPMENT IN AGRICULTURE
- URL: https://bulletin.ssaa.ru/1997-3225/article/view/568185
- DOI: https://doi.org/10.55170/19973225_2023_8_2_31
- ID: 568185
Cite item
Full Text
Abstract
The purpose of the study is to develop and implement in practice a functional circuit for microprocessor control of electric dispensers of a mixer of oil and vegetable components of diesel bio–oil fuel, built into the standard power system of tractor diesel. From a scientific and practical point of view, it is important not only the correct selection of electric dispensers for the mixer of components of diesel bio-oil fuel, taking into account the fuel consumption of a specific tractor model, but also automatic control of electric dispensers without the participation of a driver. The choice of parameters of the mixer electric dispensers was carried out in accordance with the previously performed calculations in relation to the diesel D-243 of the MTZ-80 tractor. Considering the geometric dimensions of the input channels of the mixer and the valve of the electric dispenser, the stroke of the valve stem of the electric dispensers is determined, which is necessary for the required change in the throughput of the input channels of the mixer. To change the percentage of components of diesel bio-oil fuel, depending on the load-speed and temperature mode of tractor diesel operation, step-by-step electric dispensers are placed in the input channels of the mixer, automatically changing the throughput of the input channels by adjusting the area of their passage section. The microprocessor unit controls the operation of the electric dispensers based on informative signals from load sensors (the position of the rail of the high-pressure fuel pump), speed (the speed of rotation of the diesel crankshaft), the temperature of the coolant in the diesel cooling system and the temperature of vegetable oil at the inlet to the mixer. The functional scheme of microprocessor control of electric dispensers of the mixer of components of diesel bio-oil fuel developed and implemented in practice allows to change automatically the percentage of petroleum fuel and vegetable oil in diesel bio-oil fuel depending on the load-speed and temperature mode of tractor diesel operation.
Keywords
Full Text
Одним из видов альтернативного моторного топлива является дизельное бионефтяное топливо (ДБНТ), получаемое смешиванием в определенной пропорции товарного нефтяного дизельного топлива (ТНДТ) и растительного масла (RM), обладающего набором специфичных физико-химических и эксплуатационных свойств [1-9]. Для приготовления ДБНТ непосредственно на «борту» трактора и его работы на таком смесевом топливе в штатную систему питания дизеля дополнительно устанавливают бак растительного масла и смеситель нефтяного и растительного компонентов ДБНТ [10, 11]. Смеситель имеет два входных канала и выходной канал. Один из входных каналов смесителя топливопроводом низкого давления соединяется с основным топливным баком трактора, другой – с баком растительного масла. Выходной канал смесителя топливопроводом соединяется со штатным фильтром грубой очистки топлива.
Для изменения процентного содержания компонентов ДБНТ в зависимости от нагрузочно-скоростного и температурного режима работы дизеля трактора во входных каналах смесителя размещены электродозаторы, автоматически изменяющие пропускную способность входных каналов путем регулирования площади их проходного сечения. Управляет работой электродозаторов микропроцессорный блок по информативным сигналам датчиков нагрузочного, скоростного и температурного режима [12]. Поэтому представляется важным с научной и практической точки зрения не только правильный подбор электродозаторов смесителя компонентов ДБНТ с учетом расхода топлива конкретной моделью трактора, но и автоматическое управление электродозаторами без участия водителя.
Цель исследований – разработать и реализовать на практике функциональную схему микропроцессорного управления электродозаторами смесителя нефтяного и растительного компонентов дизельного бионефтяного топлива, встроенного в штатную систему питания тракторного дизеля.
Задачи исследований – подбор типа электродозаторов для смесителя компонентов дизельного бионефтяного топлива; определение параметров шаговых электродозаторов, обеспечивающих смесителю приготовление бионефтяного топлива с различным соотношением нефтяного топлива и растительного масла в зависимости от нагрузочно-скоростного и температурного режима работы тракторного дизеля.
Материал и методы исследований. Выбор параметров электродозаторов смесителя осуществлялся в соответствии с предварительно выполненными расчетами применительно к дизелю Д-243 трактора МТЗ-80. С учетом геометрических размеров входных каналов смесителя и клапана электродозатора была определена величина хода штока клапана электродозаторов, необходимая для требуемого изменения пропускной способности входных каналов смесителя. Результаты расчетов показывают, что для изменения пропускной способности входных каналов смесителя в пределах от 0 до 4,79 мл/с перемещение штока клапана электродозаторов должно осуществляться на расстояние от 0 до 5,76 мм.
Расчетным параметрам электродозаторов соответствуют фактические параметры регулятора холостого хода РХХ 2112-1148300, серийно выпускаемого отечественной промышленностью. Такой электродозатор-регулятор представляет собой шаговый электродвигатель с ходовым винтом (штоком) 4 (рис. 1), на котором установлен клапан 1. Ротор 8 имеет две обмотки (А и В). Электородозатор-регулятор сохраняет свою работоспособность при температуре окружающей среды от минус 40°С до плюс 130°С при напряжении от 5 до 14,2 В. Максимальный рабочий ход штока клапана при перемещении на 250 шагов составляет 10,4±0,04 мм. При малых габаритных размерах (66x54x32 мм) масса электродозатора не превышает 0,15 кг.
Рис. 1. Электродозатор смесителя:
а – разрез; б – общий вид; 1 – клапан; 2 – корпус электродозатора; 3 – обмотка статора; 4 – ходовой винт (шток); 5 – штекерный вывод обмотки статора; 6 – шариковый подшипник; 7 – корпус обмотки статора; 8 – ротор; 9 – резьбовое соединение
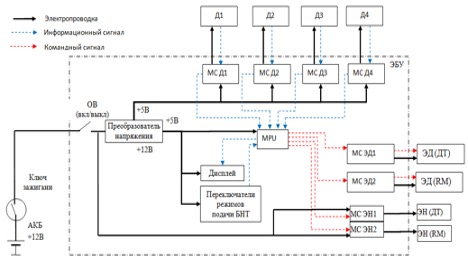
Результаты исследований. Функциональная схема микропроцессорного блока управления (МБУ) электродозаторами смесителя представлена на рисунке 2.
Формирование микроконтроллером МБУ командных сигналов (импульсов напряжения) шаговым электродвигателям электродозаторов нефтяного топлива ЭД (ДТ) и растительного масла ЭД (RM) осуществляется на основании информативных сигналов от датчиков температуры охлаждающей жидкости в системе охлаждения дизеля (Д1), частоты вращения коленчатого вала (к.в.) дизеля (Д2), положения рейки топливного насоса высокого давления ТНВД (Д3) и температуры растительного масла RМ (Д4).
Рис. 2. Функциональная схема микропроцессорного блока управления электродозаторами смесителя:
MPU – микроконтроллер; ОВ – основной выключатель (переключатель вкл./выкл. электропитания МБУ); Д1 – датчик температуры охлаждающей жидкости; МС Д1 – модуль согласования датчика температуры охлаждающей жидкости; Д2 – датчик частоты вращения коленчатого вала дизеля; МС Д2 – модуль согласования датчика частоты вращения коленчатого вала дизеля; Д3 – датчик положения рейки ТНВД; МС Д3 – модуль согласования датчика положения рейки ТНВД; Д4 – датчик температуры RМ; МС Д4 – модуль согласования датчика температуры RМ; ЭД (ДТ) – электродозатор ТНДТ; МС ЭД1 – модуль согласования электродозатора ТНДТ; ЭД (RM) – электродозатор RМ; МС ЭД2 – модуль согласования электродозатора RM; ЭН (ДТ) – электронасос ТНДТ; ЭН (RM) – электронасос RМ; МС ЭН1 и МС ЭН2 – модули согласования электронасосов ТНДТ и RM
Информативные сигналы, поступающие от датчиков, проходят через модули согласования, которые предназначены для преобразования и передачи электрических сигналов от датчиков в сигналы, соответствующие диапазону работы микроконтроллера МБУ (напряжение от 0 до 5 В, период следования больше 1 мкс), а также для защиты микроконтроллера от статического электричества, сигналов, выходящих за пределы нормальной работы датчика, и шумоустойчивости.
Блок-схема формирования командных сигналов МБУ электродозаторами ТНДТ и RM представлена на рисунке 3.
Микроконтроллер МБУ считывает информацию, поступающую от модулей согласования датчиков, проводит расчет требуемого положения клапанов электродозаторов ТНДТ и RМ в соответствии с информативными сигналами от соответствующих датчиков, определяет необходимое количество шагов штока клапанов электродозаторов ТНДТ и RМ, а также разность между текущим и требуемым положениями штока клапанов электродозаторов ТНДТ и RМ, формирует командные сигналы (импульсы напряжения), которые через модули согласования МС ЭД1 и МС ЭД2 изменяют положение штока клапанов электродозаторов ТНДТ и RМ, что приводит к регулированию площади проходного сечения входных каналов смесителя и, как следствие, к изменению процентного содержания компонентов в ДБНТ.
Генерирование командных сигналов для включения шаговых электродвигателей электродозаторов ТНДТ и RM в пределах регулирования состава ДБНТ осуществляется на основании заданных в программе микроконтроллера базы исходных информативных сигналов и текущих (записанных в памяти микроконтроллера) положениях штока клапанов электродозаторов ДТНТ и RМ. Величина информативных (входных) сигналов принята по данным паспортных градуировочных характеристик датчиков, а командных (выходных) сигналов для управления ходом штоков клапанов электродозаторов ТНДТ и RM по числу шагов (количеству импульсов напряжения). Микроконтроллер МБУ работает в соответствии с разработанным алгоритмом и программой, составленной на языке программирования «Си». Импульсные сигналы с МБУ поступают в цепь шаговых электродозаторов таким образом, что шток клапана растительного масла перемещается, например, в сторону открытия соответствующего входного канала смесителя, а шток клапана нефтяного топлива – в сторону закрытия.
Рис. 3. Блок-схема формирования командных сигналов микропроцессорного блока управления электродозаторами смесителя
Подача одного импульса напряжения величиной 5 В в одну из обмоток шагового электродвигателя дозатора вызывает вращение ротора электродвигателя на величину 15 угловых градусов и перемещение штока клапана на один шаг. Один полный поворот ротора соответствует 24 шагам, а перемещение штока клапана за один шаг составляет 0,0416 мм. Перемещение штока клапана на один шаг обеспечивает изменение процентного содержания в ДБНТ нефтяного топлива на 1,9 %, растительного масла – на 1,1 %, а перемещение штока клапана за один полный оборот ротора составит 0,998 мм. Поскольку один шаг осуществляется одним импульсом напряжения, то для осуществления одного полного оборота ротора шагового электродвигателя необходимо подать 24 импульса.
В таблице 1 приведены данные по количеству командных сигналов, подаваемых на шаговые электродвигатели электродозаторов смесителя, в зависимости от процентного содержания компонентов ДБНТ.
Из анализа таблицы 1 следует, что при установке переключателя на корпусе МБУ в положение «0» смеситель обеспечивает подачу в дизель только нефтяного топлива (100% ТНДТ). При этом в обмотки ротора шагового электродвигателя дозатора ТНДТ подается командный сигнал в виде 48 импульсов (24 импульса на обмотку А и 24 импульса на обмотку В) в следующем порядке: А(АВ)-В(СD)-А(ВА)-В(DC) и т.д., что вызовет поворот ротора на 2 оборота, а шток клапана совершит линейное перемещение на 1,997 мм в сторону открытия. При установке переключателя, например, в положение «4» смеситель приготовит смесевое топливо с процентным содержанием в нём от 40% до 50% растительного масла. При этом в обмотки ротора электродозатора ТНДТ подается командный сигнал в количестве от 27 до 22 импульсов, а в обмотки электродозатора RM – в количестве от 37 до 47 импульсов. Клапаны обоих электродозаторов будут открыты: шток клапана электродозатора ТНДТ совершит линейное перемещение на 0,915…1,123 мм, а шток клапана электродозатора RM – на 1,539…1,955 мм.
Таблица 1. Количество командных сигналов, подаваемых на шаговые электродвигатели электродозаторов смесителя, в зависимости от процентного содержания компонентов ДБНТ
Номер переклю-чателя МБУ | Процентное содержание ТНДТ и RM в ДБНТ | Электродозатор ТНДТ | Электродозатор RM | ||
количество импульсов напряжения (число шагов), ед. | ход штока клапана шагового электродвигателя, мм | количество импульсов напряжения (число шагов), ед. | ход штока клапана шагового электродвигателя, мм | ||
0 | 100% ТНДТ | 48 | 1,997 | 0 | 0 |
1 | 0-10%RM | 48 - 43 | 1,997-1,789 | 0 - 8 | 0-0,333 |
2 | 10-25%RM | 43 - 35 | 1,789-1,456 | 8 - 22 | 0,333-0,915 |
3 | 25-40%RM | 35 - 27 | 1,456-1,123 | 22 - 37 | 0,915-1,539 |
4 | 40-50%RM | 27 - 22 | 1,123-0,915 | 37 - 47 | 1,539-1,955 |
Таким образом, подача чередующихся импульсов напряжения на обмотки А и В вызывает вращательное движение ротора, которое преобразуется в поступательное перемещение штока с клапаном. В процессе возвратно-поступательных движений штока клапан соответствующего электродозатора изменяет площадь проходного сечения (пропускную способность) входных каналов смесителя и, как следствие, процентное содержание нефтяного и растительного компонентов в ДБНТ в зависимости от нагрузочно-скоростного и температурного режима работы тракторного дизеля.
Заключение. Разработанная и реализованная на практике функциональная схема микропроцессорного управления электродозаторами смесителя компонентов дизельного бионефтяного топлива позволяет автоматически изменять процентное содержание нефтяного топлива и растительного масла в ДБНТ в зависимости от нагрузочно-скоростного и температурного режима работы тракторного дизеля.
About the authors
Alexander P. Ukhanov1
Penza State Agrarian University
Author for correspondence.
Email: dispgau@mail.ru
ORCID iD: 0009-0006-2210-5294
Doctor of Technical Sciences, Professor
Russian Federation, PenzaDenis A. Ukhanov
25th State Research Institute of Chemmotology of the Defense Ministry of the Russian Federation
Email: uxanov_denis_a@mail.ru
ORCID iD: 0000-0002-9507-893X
Doctor of Technical Sciences, Professor
Russian Federation, MoscowReferences
- The state standard of Russia 52808-2007 (2008). Non-traditional technologies. Biowaste energy. Terms and definitions. Introduced 2009-01-01. Moscow: Standartinform (in Russ.).
- Ukhanov, A. P., Ukhanov, D. A. & Adamov, I. F. (2016). Diesel mixed fuel: problems and innovative de-velopments. Izvestiia Samarskoi gosudarstvennoi selskokhoziaistvennoi akademii (Bulletin Samara state agricultural academy), 2, 46–50 (in Russ.).
- Ukhanov, A. P., Godina, E. D. & Sidorova, L. I. (2012). Experience of using radish oil as a biological component of diesel mixed fuel. Izvestiia Samarskoi gosudarstvennoi selskokhoziaistvennoi akademii (Bulletin Samara state agricultural academy), 3, 46–50 (in Russ.).
- Likhanov, V. A. & Yurlov, A. S. (2021). Improving the environmental performance of a high-speed diesel engine by reducing the smokiness of exhaust gases when working on alternative fuels. Kirov: Vyatka State Agrotechnological University (in Russ.).
- Nagornov, S. A., Romantsova, S. E. & Markov, V. A. (2020). Improvement of operational properties of diesel fuels for agricultural machines. Agrarnyi nauchnyi zhurnal (Agrarian Scientific Journal), 12, 90–92 (in Russ.).
- Markov, V. A., Boveen, S., Neverov, V. A. & Zykov, S. A. (2017). Mustard oil as an ecological additive to oil diesel fuel. AvtoGazoZapravochnyj Kompleks+Al'ternativnoe Toplivo (Autogasueling Complex +Alternative Fuel), 16, 1, 10–21 (in Russ.).
- Markov, V. A., Loboda, S. S. & Kamaltdinov, V. G. (2016). Optimization of diesel fuel and corn oil mix-tures composition. 2nd international conference on industrial engineering '16. (pp. 225–234). Elzevir, 2016. Vol. 150. Conference proceedings series «Procedia Engineering».
- Likhanov, V. A. & Lopatin, O. P. (2021). Biofuels or smoking cars? Teoreticheskaya i prikladnaya ekologiya (Theoretical and Applied Ecology), 3, 228–236 (in Russ.).
- Chernyshova, A. V., Cherepanova, A. D. & Kolobkov, B. I. (2022). Physico-chemical and operational properties of biodiesel and mixed fuels. Nauka v centralinoi Rossii (Science in the central Russia), 5(59), 120–133 (in Russ.).
- Ukhanov, A. P., Ukhanov, D. A., Khokhlov, A. A., Rotanov, E. G. & Khokhlov, A. L. (2016). Mixer-dispenser of vegetable oil and mineral diesel fuel. Patent 2582700 Russian Federation. 2014152680/05 (in Russ.).
- Ukhanova, Yu. V., Volodko, O. S., Bychenin, A. P. & Erzamaev, M. P. (2018). Adaptation of an automo-tive diesel engine to work on soy-mineral fuel. Izvestiia Samarskoi gosudarstvennoi selskokhoziaistven-noi akademii (Bulletin Samara state agricultural academy), 4, 36–43 (in Russ.).
- Ukhanov, A. P., Ukhanov, D. A. & Khokhlov, A. A. (2019). Two-fuel diesel power supply system of an au-tomotive vehicle. Patent 2702067 Russian Federation. 2018142935 (in Russ.).
Supplementary files






