Justification of the improving direction design of grain crushers
- Authors: Chuikov V.E.1, Konovalov V.V.1, Dontsova M.V.1, Petrova S.S.2
-
Affiliations:
- Penza State Technological University
- Samara State Agrarian University
- Issue: Vol 8, No 3 (2023)
- Pages: 45-55
- Section: TECHNOLOGY, MEANS OF MECHANIZATION AND POWER EQUIPMENT IN AGRICULTURE
- URL: https://bulletin.ssaa.ru/1997-3225/article/view/568368
- DOI: https://doi.org/10.55170/19973225_2023_8_3_45
- ID: 568368
Cite item
Full Text
Abstract
The purpose of the research is to substantiate a promising direction for improving grain crushers. The effective use of feed raw materials requires its grinding to increase the digestibility and, as a result, increase the productivity of reared animals. The grinding products must meet the zootechnical requirements. The process of feed grinding is very energy-consuming. The improvement of devices for grinding feed is of great national and economic importance. The designs of various hammer crushers, as well as crushers with blade, knife and «acceleration» bills are considered. The analysis of the work of grain grinders by the amount of energy consumption allowed to identify the prospects of crushers of the chipping principle of action in comparison with hammer and bill crushers operating on the principle of impact. Chipping type crushers are divided into: centrifugal-rotary crushers with finger (pin) working bodies; roller delivery with riffles; cone inertial crushers with toothed cones according to the type of roller delivery with internal contact of toothed-riffle rollers. Among these types of grinders, due to the possibility of self-cleaning, the most promising are cone inertial crushers with toothed cones, which allow to expand the working area for humidity and grinding of oilseeds. In the process of trial tests of a laboratory sample of a cone inertial crusher of the design of PenzSTU and FORMADEL LLC, the value of energy consumption of 4.6 kWh/t was confirmed. In order to reduce the energy consumption of grain grinding, increase the productivity of the device and the quality of the product, additional interpolation and optimization studies are required to justify the optimal values of the rotational speed of the conical rotor and the gap between the working bodies.
Keywords
Full Text
Эффективное использование кормового сырья требует его измельчения для повышения усвояемости и роста продуктивности выращиваемых животных. Чем мельче продукты измельчения, тем выше наблюдаются привесы животных [1]. Однако, в случае переизмельчения (образования пылевидной фракции), кормовая пыль попадает в дыхательный тракт (способствует легочным заболеваниям), а сухой мучнистый продукт плохо смачивается слюной, что способствует желудочно-кишечным заболеваниям [2]. Тем самым, продукты измельчения должны соответствовать зоотехническим требованиям [3]. Сам процесс измельчения кормов весьма энергоемок, а учитывая большие объемы перерабатываемых кормов, кормоизмельчение требует высокого расхода энергии. Поэтому совершенствование устройств для измельчения кормов имеет важное народно-хозяйственное значение [2, 4].
Цель исследований – обоснование перспективного направления совершенствования дробилок зерна.
Задачи исследований – провести аналитический обзор конструкций зерновых измельчителей; выявить по величине энергозатрат перспективность измельчителей скалывающего принципа действия по сравнению с молотковыми и бильными дробилками, работающими по принципу удара.
Методика и результаты исследований. Согласно ГОСТ 14916-82 «Дробилки. Термины и определения» разрушение твердого кускового материала (каким и являются семена сельскохозяйственных растений) носит название «дробление», а поэтому машины для измельчения называются «дробилками». Согласно ГОСТ 14916-82 различают: конусные, щековые, валковые, молотковые и роторные дробилки [5]. Используются различные способы нагружения (измельчения) частиц зерна. К широко известным применяемым способам относятся измельчение зерновок ударом, раскалыванием, раздавливанием (истиранием), сжатием, распиливанием (у стебельных кормов). Меньшей энергоемкостью обладают перспективные способы нагружения материала частиц (дробления): изгиб, скол, срез, растяжение [6-8].
Традиционно распространен способ измельчения ударом влет [6-8]. Он производителен, конструкция дробилки достаточно надежная и отработанная. Однако отмечается наличие завышенных значений пылевидного продукта. Анализ литературы последних двух десятилетий позволил заключить, что совершенствуется как дробильный аппарат, так и система сепарации измельченного продукта [9]. Недоизмельченные частицы дробятся вновь, что увеличивает долю пылевидной фракции. Конструкции молотков могут быть различны, как и дековые и сепарирующие элементы дробильного аппарата.
Примером подобных дробильных аппаратов является измельчитель Орловского ГАУ с переменным зазором между шарнирно подвешенными молотками и решетом [8]. В указанном материале выявлено влияние диаметра отверстий решет и увеличения радиуса спирали на энергоемкость получения дерти.
Недостатком роторных дробилок с рабочим органом в виде била (роторно-бильные дробилки) является отсутствие предохранительных элементов в случае попадания частиц металла или камня в дробильный аппарат. Это может привести к заклиниванию или поломке дробилки. В этом отношении молотковые дробилки (рис. 1) более надежны – шарнирно установленные молотки предотвращают заклинивание рабочих органов [8]. Используются дробилки как с лопастными [10-12], так и с ножевыми билами [13-15].
Рис. 1. Схема молотковой дробилки со спиральным решетом [8]
Примером бильных лопастных дробилок является конструкция (рис. 2) с отогнутыми повернутыми лопастями [10, 11]. В отличие от предыдущего рисунка, отвод измельченного продукта не только периферийный, но и боковой – с торца ротора. Поворот лопастей способствует лучшему отведению продуктов измельчения.
Рис. 2. Схема дробилки зерна с билами: 1 – решето; 2 – лопастное било; 3 – ротор; 4 – загрузочное окно; 5 – корпус дробилки; 6 – решето торцевое; 7 – окно выгрузное [11]
Известны конструкции бильных дробильных аппаратов с ножевым лопастным рабочим органом (рис. 3) [14]. Ножи способствуют скалыванию частиц, что несколько уменьшает расход энергии на дробление.
Рис. 3. Схема дробильного аппарата: 1 – центральная зона; 2 – воздушно-продуктовый поток в периферийной зоне; 3 – лопасть рабочего органа; 4 – корпус дробильной камеры [14]
Разработаны также дробилки, у которых ротор выполнен в виде радиально-отогнутых трубчатых каналов («разгонные» била) с подачей материала у оси вращения ротора [16, 17]. В данном случае разогнанные частицы выходят из трубчатых отверстий ротора (рис. 4) с высокой скоростью и ударяются о решета, выполненные в виде цилиндра вокруг вращающегося ротора. При ударе о грани отверстий решет зерновки дробятся, при этом часть частиц подается на выгрузку, а часть – отражается от решет. По отраженным частицам ротор ударяет трубчатыми направляющими как билами, и процесс измельчения продолжается. В результате часть материала дробится ударом влет, а часть – скалыванием.
Рис. 4. Схема центробежной дробилки зерна: 1 – корпус дробильной камеры; 2 – ротор; 3 – неподвижная лопасть ротора; 4 – подвижная лопасть ротора; 5 – решето; 6 – загрузочный бункер; 7 – канала загрузочный; 8, 9 – емкость измельченного продукта; 10 – рама; 11 – электродвигатель; 12 – клиноремённая передача; 13 – выгрузная горловина; 14 – направляющая пластина [17]
Большое количество сравнительных экспериментов измельчителей различных типов показали преимущество дробления за счет скалывания. Данный способ нагружения материала (дробления) зерновок менее энергоемок [18-20]. Рассматривая конструкции дробилок, реализующих данный способ измельчения, можно выделить три направления развития конструкции: центробежно-роторные дробилки с пальцевыми (штифтовыми) рабочими органами; вальцовый постав с рифлями; конусные инерционные дробилки с зубчатыми конусами по типу вальцового постава с внутренним контактом зубчато-рифленых вальцов.
Выявлены конструкции центробежно-роторных дробилок с пальцевыми (штифтовыми) рабочими органами ФГНЦ СВ им. Н. В. Рудницкого и Вологодской ГМА им. Н. В. Верещагина, Челябинского ГАУ, Омского ГАУ и др., обеспечивающие измельчение зерновок скалыванием [21-25]. Их основой является штифтовый (пальцевый) дробильный аппарат [21] различной конструкции (рис. 5), где зерновки проходят через ряды встречно движущихся штифтов (пальцев, ножей). За счет высокоскоростного заклинивания зерновок происходит скол их частей. Чрезмерно высокая взаимная скорость ножей (штифтов) способствует образованию мучнистой фракции. При малых скоростях растет вероятность прохода крупных частиц. Достоинством данных аппаратов является отсутствие мелких пазов, способствующих «засаливанию», забиванию продуктовой массой. Однако, сложность изготовления рабочих органов ограничивает применение подобных измельчителей.
Рис. 5. Схема центробежно-роторного дробильного аппарата: а – конструктивная схема; 1 – корпус дробилки; 2 – патрубок загрузочный; 3 – патрубок выгрузной; 4 – статор (верхний диск); 5 – ротор (нижний диск); 6 – кольцевые каналы; 7 – ножи; 8 – наружный ряд ножей; 9 – сквозные пазы; 10 – приводной вал; 11 – шкив; 12 – горловина загрузная; 13 – окна радиальные; 14 – рабочая камера; б – общий вид верхнего диска измельчителя с сепарирующей поверхностью и установленными ножами и схема контроля открытия сепарирующей поверхности [21]
Вальцовые поставы с рифлеными вальцами широко используются в мукомольном производстве. Зерновки заклинивается перед вальцами, а рифлями как фрезой срезается слой частиц. Изменяя соотношение скоростей и направление режущей кромки взаимодействующих вальцов, меняют крупность помола муки [22, 23]. Недостатком является наличие пылевидных частиц.
Вариант конструкции вальцовых измельчителей с внутренним зацеплением приведен на рисунке 6, где дека статора, по сути, выполняет роль вальца [7, 23]. Проблемным является момент забивания межзубового пространства измельченным продуктом, что снижает производительность дробилки и этим повышает энергозатраты.
Рис. 6. Схема роторного измельчителя скалывающего типа: 1 – корпус; 2 – бункер; 3 – ротор; 4 – зубья ротора; 5 – кожух камеры измельчения; 6 – дека зубчатая [7]
В этом отношении более совершенны конструкции инерционных дробилок с зубчатыми конусами, которые позволяют при дальнейшем совершенствовании их конструкции обеспечить самоочистку межзубьевых каналов по типу взаимодействия бороздок жерновых поставов. Тем самым, расширяется область применения за счет повышения влажности продукта и возможной обработки семян масличных культур.
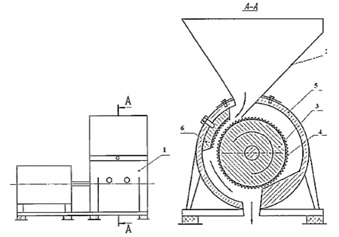
Известны конструкции конусных инерционных дробилок с зубчатыми конусами Ставропольского ГАУ [20, 24], Пензенской ГСХА [25, 26] и Пермской ГСХА [27, 28]. Их принцип действия, по сути, достаточно схожий. В конструкции Ставропольского ГАУ на конусах нанесены винтовые каналы с разнонаправленной навивкой (рис. 7). Сравнительные испытания указанной конической дробилки с молотковыми дробилками показали ее преимущество [20].
Рис. 7. Конусная инерционная дробилка: 1 – корпус; 2 – пластина-дозатор с технологическим отверстием; 3 – технологическое отверстие; 4 – правая навивка внутреннего конуса; 5 – внутренний конус; 6 – левая навивка наружного конуса; 7 – наружный конус; 8 – вал приводной; 9 – прокладка; 10 – технологическое отверстие; 11 – регулирующая пластина [24]
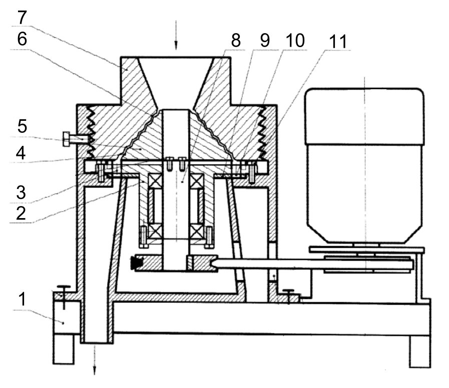
В конструкции конусной инерционной дробилки с зубчатыми конусами (рис. 8) Пензенского ГСХА [25] пазы расположены ближе к вертикали и, по мере увеличения диаметра конуса, сделаны новые пазы. Исследован высокоскоростной режим работы рабочих органов.
Рис. 8. Конусная инерционная дробилка кусковых материалов: а – схема дробилки; б – схема пазов рабочего конуса; 1 – корпус; 2 – рама; 3 – загрузочная горловина; 4 – вал; 5 – подшипниковая опора; 6 – ворошитель; 7 – распределительный конус; 8 – коническая втулка; 9 – рабочий конус; 10 – коническая втулка с пазами; 11 – выгрузной скребок; 12 – выгрузной лоток; 13 – винт; 14 – гайка; 15 – электродвигатель; 16 – клиноременная передача [25]
У конусного инерционного измельчителя с зубчатыми конусами Пермской ГСХА [27] рабочий режим среднескоростной, а угол между рабочими кромками внутреннего и наружного конусов существенно больше (рис. 9). Использован наклонный вариант установки рабочих органов.
Рис. 9. Конусная инерционная дробилка фуражного зерна: а – схема измельчающего аппарата; S – кольцевой зазор; 1 – выгрузная камера; 2 – лезвия ножевого конуса; 3 – загрузочная камера; 4 – загрузочный бункер; 5 – приводной вал; 6 – подающий шнек; 7 – ножевой конус; 8 – противорежущие элементы корпуса; 9 – корпус измельчителя; б – общий вид измельчающего аппарата; в – схема установки: 1 – измельчающий узел; 2 – загрузочный бункер; 3 – редуктор; 4 – электродвигатель; 5 – рама [27]
У вальцовых плющилок и дробилок энергозатраты составляют около 3,7 кВт∙ч/т, у бичевых – около 3,2 кВт∙ч/т [29]. В то же время, по данным [19], среди всех типов дробилок наименее энергоемки измельчители, реализующие резание и скалывание зерна (центробежно-роторные измельчители) с энергозатратами 4,5-6,5 кВт∙ч/т. Подобные энергозатраты наблюдаются и у конусных инерционных дробилок [28]. Согласно данным Ставропорльского ГАУ [20], конусные инерционные дробилки обеспечивают существенное улучшение качества измельчения (83,4% соответствия крупности помола нормам, по сравнению с 44,7% у молотковых дробилок) и расход энергии составляет 0,4-1,0 кВт∙ч/т. С уменьшением помола резко растут энергозатраты, или на 58% меньше, чем у молотковых дробилок при сопоставимом помоле [20].
В процессе пробных испытаний лабораторного образца конусной инерционной дробилки конструкции ПензГТУ и ООО «ФОРМАДЕЛ» подтвердилась величина энергозатрат 4,6 кВт∙ч/т. Для снижения энергоемкости измельчения зерна, повышения производительности устройства и качества продукта требуется провести дополнительные интерполяционные и оптимизационные исследования по обоснованию оптимальных значений частоты вращения конического ротора и зазора между рабочими органами.
Заключение. Проведенный анализ дробилок зерна по величине энергозатрат позволил выявить перспективность измельчителей скалывающего принципа действия по сравнению с молотковыми и бильными дробилками, работающими по принципу удара.
Дробилки скалывающего типа подразделяются: на центробежно-роторные дробилки с пальцевыми (штифтовыми) рабочими органами; вальцовый постав с рифлями; конусные инерционные дробилки с зубчатыми конусами по типу вальцового постава с внутренним контактом зубчато-рифлевых вальцов. Среди указанных видов измельчителей, в силу возможности самоочистки, наиболее перспективными являются конусные инерционные дробилки с зубчатыми конусами.
Конструктивно-кинематические параметры лабораторной конусной инерционной дробилки требуют дополнительных экспериментальных исследований.
About the authors
Valery E. Chuikov
Penza State Technological University
Email: epnz@yandex.ru
ORCID iD: 0009-0006-5172-1811
postgraduate student
Russian Federation, PenzaVladimir V. Konovalov
Penza State Technological University
Author for correspondence.
Email: konovalov-penza@rambler.ru
ORCID iD: 0000-0002-5011-5354
Doctor of Technical Sciences, Professor
Russian Federation, PenzaMarina V. Dontsova
Penza State Technological University
Email: dontmv@mail.ru
ORCID iD: 0000-0003-2915-0881
Candidate of Technical Sciences, Associate Professor
Russian Federation, PenzaSvetlana S. Petrova
Samara State Agrarian University
Email: svetychsa1368@mail.ru
ORCID iD: 0000-0002-0243-8992
Candidate of Technical Sciences, Associate Professor
Russian Federation, Ust-Kinelsky, Samara regionReferences
- Esaulova, L. A. & Kharlamova, E. A. (2022). The effect of feed particle size on the growth efficiency of fattening pigs. Effektivnoe zhivotnovodstvo (Efficient animal husbandry), 5 (180), 35–37 (in Russ.).
- Konovalov, V. V. (2005). Justification of technical means of preparation and distribution of feed in pig breeding. Penza : PGSHA (in Russ.).
- Norms of technological design of enterprises for the storage and processing of potatoes and fruit and vegetable products (2002). Moscow : Giproniselprom (in Russ.).
- Sergeev, N. S. Centrifugal rotary feed grain grinders. Doctor’s thesis. Chelyabinsk, 2008 (in Russ.).
- Crushers. Terms and definitions (1982). Moscow (in Russ.).
- Kurmanov, A. K. & Kamysheva, N. A. (2019). On the dynamics of impact grinding. Vestnik Vostochno-Kazahstanskogo gosudarstvennogo tekhnicheskogo universiteta im. D. Serikbaeva (Vestnik of D. Serikbaev EKTU), 1, 119–124 (in Russ.).
- Shumsky, A. A. (2019). Increasing the durability of grain shredders of rotary type. Candidate’s thesis. Stavropol (in Russ.).
- Konoshin, I. V. (2004). Improvement of the grinding process and justification of design-mode parameters of a hammer crusher with a spiralshaped sieve. Extended abstract of candidate’s thesis. Voronezh (in Russ.).
- Sysuev, V. A., Aleshkin, A. V. & Savinykh, P. A. (2008). Feed preparation machines. Theory, development, experiment. In 2 v. Kirov : Zonal Research Institute of the North-East. Vol. 1 (in Russ.).
- Bulatov, S. Yu., Nechaev, V. N. & Mironov, K. E. (2017). Investigation of grain interaction with rotor blades of a closedtype crusher. Vestnik NGIEI (Bulletin NGIEI), 8 (75), 26–34 (in Russ.).
- Mironov, K. E., Obolensky, N. V., Goeva, V. V. & Grishin, N. E. (2019). Development and research of the working process of grain crushing of impact-reflective crusher. Vestnik Kazanskogo gosudarstvennogo agrarnogo universiteta (Vestnik of Kazan State Agrarian University), 14, 1, 100–106 (in Russ.).
- Kolobov, M. Yu. (2010). Energysaving technology and technical means of centrifugal action for processing dispersed materials for agricultural purposes. Extended abstract of doctor’s thesis. Ryazan (in Russ.).
- Vendin, S. V. & Saenko, Yu. V. (2018). To the calculation of design parameters of knives for grinding sprouted grain. Innovacii v APK: problemy i perspektivy (Innovations in Agricultural Complex: problems and perspectives), 1, 16–32 (in Russ.).
- Kobylkin, D. S. (2009). Investigation of the grain grinding process when the air pressure changes in the working chamber of the impactabrasion crusher. Extended abstract of candidate’s thesis. Orenburg (in Russ.).
- Kishkilev, S. V., Popov, V. P., Antimonov, S. V., Ganin, E. V. & Zinyukhin, G. B. (2018). Development of a crusher for grinding chilled raw materials in the production of feed. Izvestiia Orenburgskogo GAU (Izvestia Orenburg SAU), 4 (72), 169–172 (in Russ.).
- Volkhonov, M. S., Abalikhin, A. M. & Krupin, A. V. (2020). Analysis of the efficiency of the new shredder of coarse grain. Izvestiya Sankt-Peterburgskogo gosudarstvennogo agrarnogo universiteta (Proceedings of the St. Petersburg State Agrarian University), 3 (60), 124-131. doi: 10.24411/2078-1318-2020-13124 (in Russ.).
- Solntsev, R. V. (2010). Centrifugal grain shredder. Vestnik Altaiskogo gosudarstvennogo agrarnogo universiteta (Bulletin of Altai State Agrarian University), 4 (66), 76–80 (in Russ.).
- Shagdyrov, I. B. (2013). Technology and parameters of multistage feed grain grinders with internal separation. Extended abstract of doctor’s thesis. Novosibirsk (in Russ.).
- Nanka, O. V. (2014). Methods of mechanical action during milling of feed grain and their energy assessment. Agrotekhnika i energoobespechenie (Agrotechnics and energy supply), 1 (1), 204–209 (in Russ.).
- Lebedev, A. T., Iskenderov, R. R., Shumsky, A. S. & Zhevora, Yu. I. (2019). Comparative assessment of costs in the milling of grain materials. Nauka v centralinoi Rossii (Science in the central Russia), 1, 50–55 (in Russ.).
- Isupov, A. Yu., Ivanov, I. I., Plotnikova, Yu. A. & Sukhoparov, A. I. (2021). Investigation of the performance indicators of a rotary centrifugal shredder. Agroekoinzheneriya (Agro eco engineering), 3(108), 90–99 (in Russ.).
- Ivanov, Yu. A., Syrovatka, V. I., Sergeev, N. S. & Zapevalov, M. V. (2009). Centrifugalrotary grinding of feed grain and rapeseed. Tekhnika i oborudovanie dlia sela (Machinery and equipment for the village), 2, 20–21 (in Russ.).
- Sabiev, U. K. & Sergeev, N. S. (2019). Universal shredder for agricultural production. Vestnik Omskogo gosudarstvennogo agrarnogo universiteta (Bulletin of Omsk State Agrarian University), 4 (36), 168–174 (in Russ.).
- Shcherbakov, D. A. (2014). Device for the preparation of concentrated feeds. Young Science, 1, 4, 53–55 (in Russ.).
- Sabiev, U. K. & Sadov, V. V. (2021). Efficiency indicators of feed grain grinders. Vestnik Altaiskogo gosudarstvennogo agrarnogo universiteta (Bulletin of Altai State Agrarian University), 6 (200), 93–99 (in Russ.).
- Shilo, I. N., Savinykh, V. N., Vorobyev, N. A. & Gud, A. V. (2011). Determination of the throughput capacity of a crusher with a corrugated working surface of rollers. Agropanorama (Agropanorama), 3 (85), 2–5 (in Russ.).
- Abramov, A. A. (2006). Justification of parameters and modes of operation of a grain shredder of the chipping type. Extended abstract of candidate’s thesis abstract. Rostov-na-Donu (in Russ.).
- Lebedev, A. T., Pavlyuk, R. V., Makarenko, D. I., Lebedev, P. A., Magomedov, R. A., Kaa, A. V. & Maryin, N. A. (2013). Cone inertia crusher. Patent 2476269, Russian Federation, 2011143842/13 (in Russ.).
- Konovalov, V. V., Chirikov, A. P., Teryushkov, V. P., Chupshev, A. V. & Terekhin, M. A. (2014). Feed grain shredder. Patent 2536623, Russian Federation, 2013125410/13 (in Russ.).
- Konovalov, V. V., Chupshev, A. V., Teryushkov, V. P., Chirikov, A. P. & Rodionov, Yu. V. (2016). Investigation of the device for grinding bulk materials of the chipping type. XXI vek: itogi proshlogo i problemy nastoiashchego plyus (XXI Century: Resumes of the Past and Challenges of the Present plus), 2 (30), 57–63 (in Russ.).
- Anisimov, V. A. & Peretyagin, E. N. (2007). Feed grain shredder. Patent 66979, Russian Federation, 2007115984/22 (in Russ.).
- Peretyagin, E. N. & Anisimov, V. A. (2018). Substantiation of parameters of a grain shredder of cutting type. Permskii agrarnii vestnik (Perm Agrarian Journal), 2 (22), 9–15 (in Russ.).
- Dashkov, V. N., Vorobyov, N. A. & Drozd, S. A. (2011). Analysis of energy and resource intensity of equipment for grain milling. NIRS 2011 '11: Collection of scientific papers of students of the Republic of Belarus. (pp. 73–77). Minsk : BSATU (in Russ.).
Supplementary files












