Theoretical studies of a disc coulter with grooves in the form of an epicycloid along the contour
- Authors: Sipunov V.A.1, Shumaev V.V.1, Fudina E.V.1
-
Affiliations:
- Penza State Agrarian University
- Issue: Vol 8, No 3 (2023)
- Pages: 56-62
- Section: TECHNOLOGY, MEANS OF MECHANIZATION AND POWER EQUIPMENT IN AGRICULTURE
- URL: https://bulletin.ssaa.ru/1997-3225/article/view/568369
- DOI: https://doi.org/10.55170/19973225_2023_8_3_56
- ID: 568369
Cite item
Full Text
Abstract
The purpose of the research is to improve the quality of sowing grain crops by developing and using a pneumatic seeder coulter, which allows to increase the uniformity of seed distribution over the sowing depth. The well-known designs of foot, single-disc and double-disc coulters have significant traction characteristics, however, they cannot provide a suitable copy of the terrain of the field, forming an extensive furrow that is not easy to close up. All of the above has a negative effect on the uniformity of the distribution of seeds of grain and leguminous crops both along the length of the row and in the depth of the embedding. It has been established that a promising direction for improving the performance of a sowing machine or unit is to equip grain seeders with disc coulters, along the contour of which there are grooves in the form of an epicycloid. The article presents the design of a disc coulter developed at the Department of Mechanization of Technological Processes in the Agro-Industrial Complex of the Penza State Agrarian University, which has a novelty confirmed by an expert examination, in connection with which a decision was made to grant a patent for utility model №215855. The coulter disc has grooves in the form of an epicycloid along the contour for a qualitative process of furrowing and crumbling of soil containing a large number of crop residues and soil elements of large fractions. A graphic image was obtained, according to which it was found that it is advisable to choose a coulter disc with a radius of 225-250 mm – at the same time it is possible to work with soil elements up to 30-32 mm, but if larger soil elements appear on the surface of the field, they will collapse due to the presence of grooves along the contour made in the form of an epicycloid.
Keywords
Full Text
Обеспечение лучшей урожайности зерновых и зернобобовых культур во многом зависит от качества своевременно выполненных посевных работ. Для создания благоприятных условий семенам при посеве необходимо обеспечить их равномерное распределение по глубине заделки и площади. В настоящее время на современных пневматических зерновых сеялках используются лаповые, однодисковые или двухдисковые сошники для заделки семян. Однодисковые и двухдисковые сошники имеют существенные тяговые характеристики, однако не могут обеспечить подходящее копирование рельефа поля, образовывая обширную борозду, которую нелегко заделать. Всё вышеперечисленное сказывается отрицательно на равномерности распределения семян зерновых и зернобобовых культур как по длине рядка, так и по глубине заделки. Установлено, что наиболее многообещающим направлением повышения подходящих показателей работы посевной машины или агрегата является оснащение зерновых сеялок дисковыми сошниками, по контуру которых имеются канавки в виде эпициклоиды [1].
Цель исследований – повышение качества посева зерновых культур разработкой и применением сошника с копирующим колесом пневматической сеялки, позволяющего повысить равномерность распределения семян по глубине посева.
Задачи исследований – обосновать и разработать конструктивно-технологическую схему и конструкцию сошника пневматической сеялки, для посева семян зерновых культур с учетом их физико-механических свойств; выполнить теоретические исследования технологического процесса посева семян зерновых культур экспериментальным сошником.
Материал и методы исследований. Теоретические методы исследования основывались на принципах классической механики, математического анализа, моделирования и математической статистики, теории почвенных элементов, рабочих процессов посевных и посадочных машин и др. По результатам аналитического обзора современных конструкций сошников и на основе литературных источников определили, что для укладки и заделки семян зерновых культур и гранул минеральных удобрений при их внесении, для качественного посева в наибольшей степени подходят дисковые сошники, по контуру которых имеются канавки в виде эпициклоиды. Однако они имеют ряд недостатков, к которым относятся: низкое качество измельчения глыбистой почвы и низкая равномерность распределения семян по глубине посева на полях с большим количеством пожнивных остатков, что приводит к снижению урожайности. Всё это снижает качество посева, что приводит к снижению урожайности культуры и повышению себестоимости продукции. Для улучшения оценочных показателей качества укладки и заделки семян зерновых культур при их внесении дисковыми сошниками, по контуру которых имеются канавки в виде эпициклоиды, необходимо учесть недостатки [2].
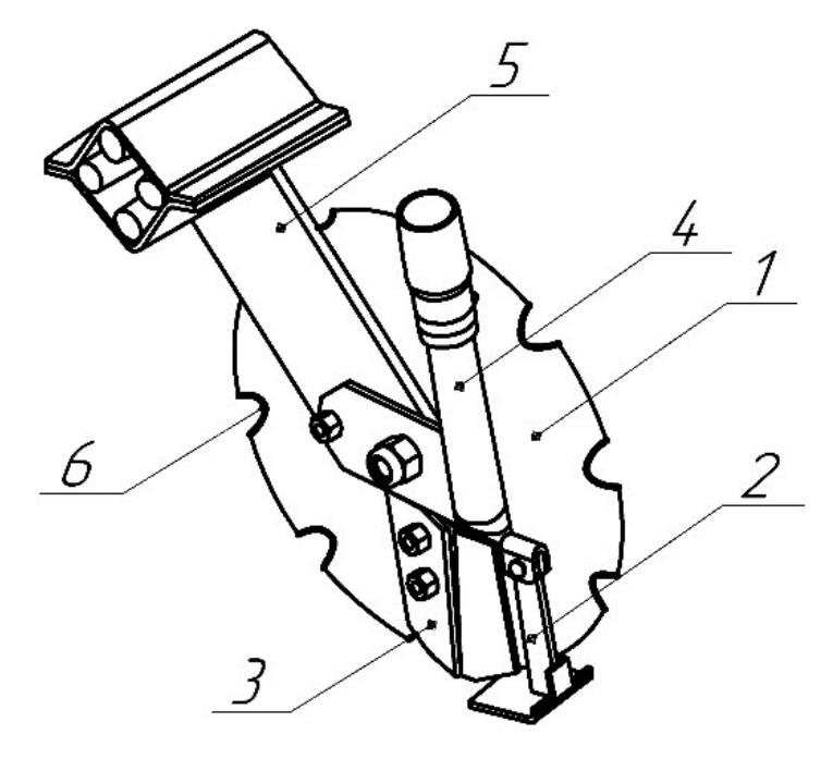
На кафедре механизации технологический процессов в АПК Пензенского ГАУ изготовлен дисковый сошник (Патент №215855 РФ. Дисковый сошник. Шумаев В. В., Сипунов В. А.) (рис. 1), содержащий кронштейн 5, на оси которого расположен плоский диск 1, по контуру которого имеются канавки в форме эпициклоиды 6. Ниже оси кронштейна 5 установлен клапан 2 и накладка 3, выше оси – обтекатель 4.
Рис. 1. Дисковый сошник: 1 – плоский диск; 2 – клапан; 3 – накладка; 4 – обтекатель; 5 – кронштейн; 6 – канавки по контуру в форме эпициклоиды
Дисковый сошник работает следующим образом. При перемещении дискового сошника плоский диск 1 с канавками по контуру в форме эпициклоиды 6 разрушает крупные почвенные элементы, разрезает пожнивные и корневые остатки растений и сорняков, одновременно раздвигая их в стороны, образуя бороздку на заданной глубине. У дискового сошника предусмотрена накладка 3, которая плотно прилегает к плоскому диску 1 и служит для очистки прилипшей почвы, пожнивных и корневых остатков. Семена из высевающего аппарата, поступающие по семяпроводу сеялки, через обтекатель 4 попадают на клапан 2 и скатываются на дно бороздки. После перемещения плоского диска 1 стенки бороздок осыпаются и закрывают высеянные семена. Так как данный сошник применен впервые, то в задачу теоретических исследований входит определение необходимых конструктивных параметров [3, 4].
Результаты исследований. Диск сошника имеет канавки в виде эпициклоиды. В процессе взаимодействия с почвой диск должен разрушать крупные почвенные элементы, разрезать пожнивные и корневые остатки растений, одновременно раздвигая их в стороны, образуя бороздку заданной глубины [5].
При встрече с крупными почвенными элементами диск сошника должен перекатываться через них и не образовывать впереди себя свал. При перекатывании через почвенный элемент давление диска сошника концентрируется на линии контакта, и почвенный элемент разрушается или вдавливается в почву без образования свала [6, 7, 8]. Характер взаимодействия диска сошника с почвой зависит от его диаметра и размеров почвенных элементов (например, перед тяжелым катком небольшого диаметра образуется высокий почвенный валик, в результате чего почвенные элементы перемещаются вперед) [9, 10].
Если диск сошника встречает расположенный на поверхности поля достаточно крупный почвенный элемент (рис. 2), то от действия силы давления Р диска сошника возбуждаются сила трения F2 между диском сошника и почвенным элементом и сила трения F1 между почвенным элементом и поверхностью почвы. Защемление почвенного элемента между диском сошника и поверхностью поля происходит при условии:
Р2 ≤ F1 + F2 cos δ. (1)
Однако
Р2 = Р sin δ, (2)
F2 = Р tg φ2, (3)
F1 = N tg φ1, (4)
где φ1 – угол трения почвы о почву; φ2 – угол трения почвы о диск сошника.
N = PВ + F2 sin δ = P cos δ + P tg φ2 sin δ. (5)
Рис. 2. Схема сил при взаимодействии дискового сошника с комком почвы: Р – сила давления диска сошника; F1 – сила трения между почвенным элементом и поверхностью почвы; F2 – сила трения между диском сошника и почвенным элементом; h – глубина борозды; ω – угловая скорость диска сошника; P1 – горизонтальная составляющая силы давления диска сошника; P2 – вертикальная составляющая силы действия диска сошника; δ – угол между вертикалью и точкой контакта диска сошника с почвенным элементом; N – вертикальная составляющая реакции
Предельным является случай, когда почвенный элемент имеет форму шара (рис. 3) [11].
Рис. 3. Схема к определению условий перекатывания: rдс – радиус диска сошника; rпэ – радиус почвенного элемента; v – линейная скорость перемещения дискового сошника
При этом
АВ = rпэ + rпэ cos δ = rдс - rдс cos δ
или
rпэ (1 + cos δ) = rдс (1 - cos δ).
Решив полученное выражение относительно rпэ, получим максимальный радиус почвенного элемента, который будет защемляться и в дальнейшем разрушаться или вдавливаться в почву диском сошника радиусом rдс без перемещения вперед:
rпэ max = rдс (1 - cos δ) / (1 + cos δ) = rдс tg2 (δ / 2). (6)
Выразив rдс через rпэ, получим минимальный радиус диска сошника, обеспечивающий защемление почвенного элемента радиусом rпэ [11, 12]:
rдс max = rпэ ctg2 (δ/2). (7)
Для наглядного представления взаимосвязи размера диска сошника и свойств почвы построим графическое изображение (рис. 4), полагая что радиус диска сошника rдс должен находиться в диапазоне от 225 до 405 мм, при этом угол между вертикалью и точкой контакта диска сошника с почвенным элементом δ будет находиться в диапазоне от 20º до 40º (полагаем, что дисковый сошник изготовлен из углеродистой стали, взаимодействует со среднесуглинистой почвой с влажностью от 10 до 20%, при этом δ ≤ φ1 + φ2 , где угол φ1 находится в диапазоне от 14º до 42º, а φ2 находится в диапазоне от 17º до 22º). Представленные значения подставим в формулу (6). Результаты обрабатывали, используя программу Mathcad 14.0.
Рис. 4. График зависимости радиуса диска сошника (rдс) от радиуса почвенного элемента (rпэ)
Из графика зависимости видно, что при минимальном радиусе диска сошника 225 мм возможно защемить почвенный элемент радиусом до 30 мм без образования свала перед сошником. Более крупные фракции почвенных элементов будут незначительно перемещаться вперед до момента западания в канавку диска сошника, выполненного в виде эпициклоиды (в результате чего происходит защемление почвенного элемента, его разрушение или перекатывание через него). При выборе диска сошника максимального радиуса 405 мм возможно работать на почвах, где присутствуют почвенные элементы радиусом до 53,6 мм (необходимо отметить, что в соответствии с агротехническими требованиями почвенные элементы данного размера должны отсутствовать).
Заключение. Получены аналитические зависимости, позволяющие определить радиус почвенного элемента при определённом диаметре диска сошника. Установлено, что целесообразно выбрать диск сошника с радиусом 225-250 мм для работы с почвенными элементами до 30-32 мм, в случае появления на поверхности поля более крупных почвенных элементов они будут разрушаться благодаря наличию канавок по контуру, выполненных в виде эпициклоиды. Дисковый сошник обеспечивает наилучшее разрезание пожнивных остатков, крошение глыбистой почвы, что способствует повышению равномерности распределения семян по глубине посева и, как следствие, увеличению урожайность зерновых культур.
About the authors
Vladislav A. Sipunov
Penza State Agrarian University
Author for correspondence.
Email: derton.bad@mail.ru
ORCID iD: 0009-0009-4271-1752
postgraduate student
Russian Federation, PenzaVasily V. Shumaev
Penza State Agrarian University
Email: shumaev.v.v@pgau.ru
ORCID iD: 0000-0002-6912-084X
Candidate of Technical Sciences, Associate Professor
Russian Federation, PenzaElena V. Fudina
Penza State Agrarian University
Email: derton.bad@mail.ru
ORCID iD: 0000-0001-5372-4764
Candidate of Economic Sciences, Associate Professor
Russian Federation, PenzaReferences
- Laryushin, N. P., Machnev, A. V. & Shumaev, V. V. et al. (2010). Sowing machines. Theory, design, calculation. Moscow : Rosinformagrotech (in Russ.).
- Zubarev, A., Larushin, N. & Kukharev, O. (2020). Innovative working bodies of openers for seeding grain crops. SCIENTIFIC PAPERS. SERIES A. AGRONOMY, 63, 1, 148–152.
- Shumaev, V. V. & Sipunov, V. A. (2022). Disc coulter. Patent 215855, Russian Federation. №2022126983 (in Russ.).
- Sipunov, V. A. & Shumaev, V. V. (2021). Research of design schemes of coulters of grain seeders. Agro-industrial complex: state, problems, prospects '21: collection of articles. (pp. 107–110). Penza : PC PSAU (in Russ.).
- Kukharev, O. N., Semov, I. N. & Rylyakin, E. G. (2015). The technical solution for a laminated coating on a rounded surfaces. Contemporary Engineering Sciences, 8, 9, 481–484.
- Laryushin, N. P., Machnev, A. V. & Shumaev, V. V. (2010). Theoretical studies of a coulter with a furrow-shaped working body. Niva Povolzhiia (Niva Povolzhya), 1, 58–61 (in Russ.).
- Kuczewski, I. (1981). Soil parameters for predicting the draught of model plough bodies. J. agr. Egr. Res., 3, 193–201.
- Letoshnev, M. N. (1955). Agricultural machines. Theory, calculation, design and testing. Moscow : Selkhozgiz (in Russ.).
- Emelyanov, P. A., Sibirev, A. V. & Aksenov, A. G. (2015). A coulter of a planting machine. Seliskii mekhanizator (Selskiy Mechanizator), 4, 11 (in Russ.).
- Gumarov, G. S., Konovalov, V. V., Mendalieva, S. I., Rakhimov, A. A. & Jaschin, A. V. (2019). Mathematical modeling to determine a radius for a watering-place used by flocks of sheep in distant arid grazinglands. IOP Conference Series: Earth and Environmental Science. Russian Conference on Technological Solutions and Instrumentation for Agribusiness '19. (pp. 12–19). Stavropol.
- Butenin, N. V., Lunts, Ya. L. & Merkin, D. R. (2009). Course of theoretical mechanics: textbook. In 2 Vol. St. Petersburg : Lan'. Vol. 1. 272 p. Vol. 2. 544 p. (in Russ.).
- Anuryev, V. I. (2006). Handbook of a machine-building designer. Moscow : Mechanical engineering. Vol. 1. 928 p.
Supplementary files







